Please wait… 
Please wait while we process your order,
do not press the back button… 
Design 911 Design 911 supply Porsche parts, Porsche spares and Porsche accessories, to both retail and to the trade. Our Porsche product and accessory range includes brakes, exhausts, tyres, wheels and Porsche panels and interiors. https://design91.uk/images/schemaLogo.png https://design91.uk/images/schemaLogo.png +443456003478 https://design91.uk Facebook Instagram

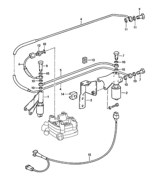
K-jetronic - 2 A - 924 1980 - 1985 - PORSCHE

Click the image numbers to view product info

Diagram 107-011 Porsche 924 (1977-1988) Engine SKU: 477133539B, solenoid valve SKU: 477133539C, solenoid valve SKU: 477133827B, support SKU: 047133655D, fuel line SKU: 047133655D, fuel line SKU: 047133685, fuel line SKU: 047133627C, fuel line SKU: N0210731, banjo bolt SKU: N0210731, banjo bolt SKU: N90088701, banjo bolt SKU: 90017500202, screw SKU: 90012311530, sealing ring SKU: 90012311530, sealing ring SKU: 90012311530, sealing ring SKU: 90012311530, sealing ring SKU: 90012311530, sealing ring SKU: 90012311530, sealing ring SKU: 90012311530, sealing ring SKU: 90012311530, sealing ring SKU: N0138062, sealing ring SKU: N0138062, sealing ring SKU: 063133558, screw socket SKU: 92811015000, terminal SKU: 99950725540, cable holder SKU: 477971973, wiring harness 107-011