Enter your VAT number here and click Verify:
Your details have been verified. VAT number registered to:
,
.
Your order will now be zero rated for VAT purposes. We reserve the right to verify these details after your order request has been made and reinstate VAT if required.
Your VAT details were not recognised or were invalid. Your VAT number must be matched to your Billing Country as specified above. This is currently specified as . You do not need to enter the country code part of your VAT number as this has already been selected in your billing address details above.
The VAT number checking service is currently offline. Please supply your VAT details within the comments or special instructions field below and we will apply a VAT discount after placing your order request.
Select your vehicle to check compatibility
Hella
012919823F/1
Product Information

Hella ref no 6ZF 181 612-011
Fits:
Porsche 986 Boxster 1997-05 5-Speed manual
Porsche 987.1 Boxster 2005-08 5-Speed manual
Porsche 987C.1 Cayman 2006-08 5-Speed manual
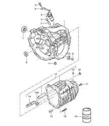
Click 'Zoom in' for large parts diagram.
Diagram ref no 4
Related reference numbers
Related, superseded, cross reference or alternative numbers for comparison.
012919823F
The product you are viewing cross references to these numbers
Product Information
Reverse light switch. 5-Speed manual gearbox cars 
Hella ref no 6ZF 181 612-011
Fits:
Porsche 986 Boxster 1997-05 5-Speed manual
Porsche 987.1 Boxster 2005-08 5-Speed manual
Porsche 987C.1 Cayman 2006-08 5-Speed manual
Click 'Zoom in' for large parts diagram.
Diagram ref no 4
Related reference numbers
Related, superseded, cross reference or alternative numbers for comparison.
012919823F
The product you are viewing cross references to these numbers
Vehicle Group
Vehicle Group
- Porsche Boxster 986 2.5L 1997-99
- Porsche Boxster 986 2.7L 1999-02
- Porsche Boxster 986 2.7L 2003-04
- Porsche Boxster 987 2.7L 2005 -08/08
- Porsche Cayman 2.7L 987C 2006-08
Price: £29.95 inc. VAT
Orderable - 5 to 7 Days