Introduzca aquí su número de identificación fiscal (NIF o VAT number) y haga clic en Verificar:
No necesita incluir el código de país de su NIF, dado que ya lo ha indicado antes en su dirección de facturación.
Se han verificado sus datos. NIF registrado a nombre de:
###NUEVO MÉJICO###,
.
Su pedido cuenta ahora con una tasa cero a efectos de IVA. Nos reservamos el derecho a verificar estos datos después de que haya solicitado su pedido y a restablecer el IVA si fuese necesario.
Sus datos de identificación fiscal no han sido reconocidos o no son válidos. Su NIF debe coincidir con el país de facturación que especificó anteriormente. Actualmente se ha especificado como . No necesita incluir el código de país de su NIF, do que ya lo ha indicado antes en los datos de su dirección de facturación.
El servicio de verificación de NIF no está disponible en este momento. Le rogamos que indique sus datos del NIF en los comentarios e en el cuadro de instrucciones especiales que encontrará abajo y le aplicaremos un descuento en el IVA tras realizar su solicitud de pedido.
Casquillos de poliuretano Powerflex
Se adapta a los números de pieza OE Wishbone Front (A-Frame) 91134190100 /91134190200.
JUEGO DE 4 CASQUILLOS

Encaja:
No se adapta a modelos fabricados antes de 1969, se adapta a todos los modelos de 1969 a 1989.
Porsche 911 1969-89
Porsche 912
Porsche 914 1970-76
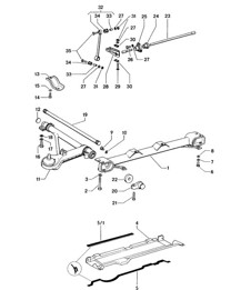
Se ajusta al No. 14 en el diagrama
Powerflex. Reemplazar los casquillos de suspensión de goma de su automóvil con casquillos de suspensión de poliuretano le dará:
- Mejor agarre a la carretera
- Geometría de dirección constante
- Mayor vida útil de los neumáticos
- Dirección más receptiva
- Mayor vida útil de los componentes de la suspensión.
Números de referencia relacionados
Números relacionados, reemplazados, de referencia cruzada o alternativos para comparación.
PFF57-401
El producto que está viendo hace referencia cruzada a estos números
- Porsche 911 1965-1968 2.0L / 912 SWB (F)
- Porsche 911 1968-1973 2.2L / 2.4L / 2.7L RS LWB (F)
- Porsche 911 1974-1977 2.7L / 1976-77 3.0 Carrera
- Porsche 911 1978-1983 3.0L / SC
- Porsche 911 1984-1986 3.2L
- Porsche 911 1987-1989 3.2L G50
- Porsche 911 1975-1977 3.0L Turbo (930)
- Porsche 911 1978-1989 3.3L Turbo (930)
- Porsche 914 (1970-1976)
Repuesto para piezas Porsche No. 90133379304.
JUEGO DE 4

Casquillo barra estabilizadora trasera - 16mm .
Casquillo de enlace de caída trasero - 16 mm.
Se adapta - lado izquierdo y derecho.
Encaja:
Porsche 911 1965-68 L / T / TU Trasero Se requieren 4 por auto
(Barra estabilizadora y Drop link)
Porsche 914 1970-76 Trasero Se requieren 2 por auto
(Barra estabilizadora)
Diagrama Ref No 2.
Haga clic en 'Acercar' para ver el diagrama de piezas grandes.
NOTA: compruebe el diámetro de la barra estabilizadora antes de realizar el pedido.
Powerflex. Reemplazar los casquillos de suspensión de goma de su automóvil con casquillos de suspensión de poliuretano le dará:
- Mejor agarre a la carretera
- Geometría de dirección constante
- Mayor vida útil de los neumáticos
- Dirección más receptiva
- Mayor vida útil de los componentes de la suspensión.
Números de referencia relacionados
Números relacionados, reemplazados, de referencia cruzada o alternativos para comparación.
PFR57-412-16
El producto que está viendo hace referencia cruzada a estos números
- Porsche 911 1965-1968 2.0L / 912 SWB (F)
- Porsche 914 (1970-1976)
Vendido como un par
Número de pieza OEM: 90134379202

Encaja:
Porsche 911S 1965-67
Porsche 911S 1968 Estados Unidos
Porsche 911S 1969
Porsche 911S / Carrera 2.7L / 911T/E / 911T-K 1970-73
Porsche 914 1970-76
Nota: compruebe el diámetro de la barra antes de realizar el pedido.
Haga clic en 'Acercar' para ver el diagrama de piezas grandes.
Diagrama Ref No 4.
Powerflex. Reemplazar los casquillos de suspensión de goma de su automóvil con casquillos de suspensión de poliuretano le dará:
- Mejor agarre a la carretera
- Geometría de dirección constante
- Mayor vida útil de los neumáticos
- Dirección más receptiva
- Mayor vida útil de los componentes de la suspensión.
Números de referencia relacionados
Números relacionados, reemplazados, de referencia cruzada o alternativos para comparación.
PFF57-1403-13
El producto que está viendo hace referencia cruzada a estos números
- Porsche 911 1965-1968 2.0L / 912 SWB (F)
- Porsche 911 1968-1973 2.2L / 2.4L / 2.7L RS LWB (F)
- Porsche 914 (1970-1976)
Vendido como un par
Número de pieza OEM: 90134379202

Encaja:
Porsche 911S 1965-67
Porsche 911S 1968 Estados Unidos
Porsche 911S 1969
Porsche 911S / Carrera 2.7L / 911T/E / 911T-K 1970-73
Porsche 914 1970-76
Nota: compruebe el diámetro de la barra antes de realizar el pedido.
Haga clic en 'Acercar' para ver el diagrama de piezas grandes.
Diagrama Ref No 4.
Powerflex. Reemplazar los casquillos de suspensión de goma de su automóvil con casquillos de suspensión de poliuretano le dará:
- Mejor agarre a la carretera
- Geometría de dirección constante
- Mayor vida útil de los neumáticos
- Dirección más receptiva
- Mayor vida útil de los componentes de la suspensión.
Números de referencia relacionados
Números relacionados, reemplazados, de referencia cruzada o alternativos para comparación.
PFF57-1403-14
El producto que está viendo hace referencia cruzada a estos números
- Porsche 911 1965-1968 2.0L / 912 SWB (F)
- Porsche 911 1968-1973 2.2L / 2.4L / 2.7L RS LWB (F)
- Porsche 914 (1970-1976)
Vendido como un par
Número de pieza OEM: 90134379202

Encaja:
Porsche 911S 1965-67
Porsche 911S 1968 Estados Unidos
Porsche 911S 1969
Porsche 911S / Carrera 2.7L / 911T/E / 911T-K 1970-73
Porsche 914 1970-76
Nota: compruebe el diámetro de la barra antes de realizar el pedido.
Haga clic en 'Acercar' para ver el diagrama de piezas grandes.
Diagrama Ref No 4.
Powerflex. Reemplazar los casquillos de suspensión de goma de su automóvil con casquillos de suspensión de poliuretano le dará:
- Mejor agarre a la carretera
- Geometría de dirección constante
- Mayor vida útil de los neumáticos
- Dirección más receptiva
- Mayor vida útil de los componentes de la suspensión.
Números de referencia relacionados
Números relacionados, reemplazados, de referencia cruzada o alternativos para comparación.
PFF57-1403-15
El producto que está viendo hace referencia cruzada a estos números
- Porsche 911 1965-1968 2.0L / 912 SWB (F)
- Porsche 911 1968-1973 2.2L / 2.4L / 2.7L RS LWB (F)
- Porsche 914 (1970-1976)
Vendido como un par
Número de pieza OEM: 90134379202

Encaja:
Porsche 911S 1965-67
Porsche 911S 1968 Estados Unidos
Porsche 911S 1969
Porsche 911S / Carrera 2.7L / 911T/E / 911T-K 1970-73
Porsche 914 1970-76
Nota: compruebe el diámetro de la barra antes de realizar el pedido.
Haga clic en 'Acercar' para ver el diagrama de piezas grandes.
Diagrama Ref No 4.
Powerflex. Reemplazar los casquillos de suspensión de goma de su automóvil con casquillos de suspensión de poliuretano le dará:
- Mejor agarre a la carretera
- Geometría de dirección constante
- Mayor vida útil de los neumáticos
- Dirección más receptiva
- Mayor vida útil de los componentes de la suspensión.
Números de referencia relacionados
Números relacionados, reemplazados, de referencia cruzada o alternativos para comparación.
PFF57-1403-16
El producto que está viendo hace referencia cruzada a estos números
- Porsche 911 1965-1968 2.0L / 912 SWB (F)
- Porsche 911 1968-1973 2.2L / 2.4L / 2.7L RS LWB (F)
- Porsche 914 (1970-1976)
JUEGO DE 4. Completo con inserciones de metal.

Encaja:
Porsche 911 1965-69
Porsche 911 1970-73
Porsche 911 1974-77
Porsche 930 1975-77
Porsche 914 1970-76
Haga clic en 'Acercar' para ver el diagrama de piezas grandes.
Diagrama Ref No. 35
Powerflex. Reemplazar los casquillos de suspensión de goma de su automóvil con casquillos de suspensión de poliuretano le dará:
- Mejor agarre a la carretera
- Geometría de dirección constante
- Mayor vida útil de los neumáticos
- Dirección más receptiva
- Mayor vida útil de los componentes de la suspensión.
Números de referencia relacionados
Números relacionados, reemplazados, de referencia cruzada o alternativos para comparación.
PFF57-402
El producto que está viendo hace referencia cruzada a estos números
- Porsche 911 1965-1968 2.0L / 912 SWB (F)
- Porsche 911 1968-1973 2.2L / 2.4L / 2.7L RS LWB (F)
- Porsche 914 (1970-1976)
Vendido como un par
Número de pieza OEM: 99634379212
Nota: compruebe el diámetro de la barra estabilizadora antes de realizar el pedido.

Encaja:
Porsche 986 Boxster 2.5L 1997-99 *M030 DELANTERO
Porsche 986 Boxster 2.7L 2000>> *M030 DELANTERO
Porsche 986 Boxster S 3.2L 2000>> **I029 DELANTERO
Porsche 987 Boxster 2.7L 2005-08 TIPTRONIC **I029 DELANTERO
Porsche 996 Carrera 1998-05 C2 COUPE TIPTRONIC DELANTERO
Porsche 996 Carrera 1998-05 C2 COUPÉ *M030 DELANTERO
Porsche 996 Carrera 1998-05 CABRIO DELANTERO
Porsche 996 Carrera 1998-05 TARGA MANUAL DELANTERO
Porsche 996 Carrera 1998-05 C4 *M030 DELANTERO
Porsche 996 Carrera 2001-05 C4S DELANTERO
Porsche 996 Turbo 2001-05 Chasis estándar DELANTERO
Porsche 997 MKI Carrera 2005-08 C2 MANUAL **I029 DELANTERO
Porsche 997 MKI Carrera 2005-08 C4 CON PASM DELANTERO
Porsche 997 MKI Carrera 2005-08 C4S CON PASM DELANTERO
Porsche 997 MKI Carrera 2005-08 TARGA CON PASM DELANTERO
Porsche 997 MKI Turbo 2008-09 DELANTERO
* M030 - Automóviles con chasis tipo Sport
** I029 - Automóviles con chasis Estándar
Haga clic en 'Acercar' para ver el diagrama de piezas grandes.
Diagrama Ref No 2.
Powerflex. Reemplazar los casquillos de suspensión de goma de su automóvil con casquillos de suspensión de poliuretano le dará:
- Mejor agarre a la carretera
- Geometría de dirección constante
- Mayor vida útil de los neumáticos
- Dirección más receptiva
- Mayor vida útil de los componentes de la suspensión.
Números de referencia relacionados
Números relacionados, reemplazados, de referencia cruzada o alternativos para comparación.
PFF57-501-23.5
El producto que está viendo hace referencia cruzada a estos números
- Porsche Boxster 986 2.5L 1997-99
- Porsche Boxster 986 2.7L 1999-02
- Porsche Boxster S 986 3.2L 1999-02
- Porsche Boxster 986 2.7L 2003-04
- Porsche Boxster S 986 3.2L 2003-04
- Porsche Boxster 987 2.7L 2005 -08/08
- Porsche 996 C2 3.4L 1997-08/01
- Porsche 996 C4 3.4L 1997-08/01
- Porsche 996 C2 3.6L 09/01-2005
- Porsche 996 C4 3.6L 09/01-2005
- Porsche 996 C4S 3.6L 09/01-2005
- Porsche 996 TURBO 2000-05
- Porsche 996 GT2 2001-05
- Porsche 997 MK1 Carrera 2 3.6L 2005-08
- Porsche 997 MK1 Carrera 2S 3.8L 2005-08
- Porsche 997 MK1 Carrera 4 3.6L 2005-08
- Porsche 997 MK1 Carrera 4S 3.8L 2005-08
- Porsche 997 MK1 TURBO 2007-09
- Porsche 914 (1970-1976)
Se vende como un par (ambos puntales superiores)
Se adapta al número de pieza: 91134101800

Encaja:
Porsche 911 1965-1989
Porsche 914 1970-1976
Haga clic en 'Acercar' para ver el diagrama de piezas grandes.
Se ajusta al número 9 en el diagrama.
Powerflex. Reemplazar los casquillos de suspensión de goma de su automóvil con casquillos de suspensión de poliuretano le dará:
- Mejor agarre a la carretera
- Geometría de dirección constante
- Mayor vida útil de los neumáticos
- Dirección más receptiva
- Mayor vida útil de los componentes de la suspensión.
Números de referencia relacionados
Números relacionados, reemplazados, de referencia cruzada o alternativos para comparación.
PFF57-406
El producto que está viendo hace referencia cruzada a estos números
- Porsche 911 1965-1968 2.0L / 912 SWB (F)
- Porsche 911 1968-1973 2.2L / 2.4L / 2.7L RS LWB (F)
- Porsche 911 1974-1977 2.7L / 1976-77 3.0 Carrera
- Porsche 911 1978-1983 3.0L / SC
- Porsche 911 1984-1986 3.2L
- Porsche 911 1987-1989 3.2L G50
- Porsche 911 1975-1977 3.0L Turbo (930)
- Porsche 911 1978-1989 3.3L Turbo (930)
- Porsche 914 (1970-1976)
Se vende como un par (ambos brazos)

Encaja:
Porsche 911/911S 1965-1967
Haga clic en 'Acercar' para ver el diagrama de piezas grandes.
Diagrama ref no 2
Powerflex. Reemplazar los casquillos de suspensión de goma de su automóvil con casquillos de suspensión de poliuretano le dará:
- Mejor agarre a la carretera
- Geometría de dirección constante
- Mayor vida útil de los neumáticos
- Dirección más receptiva
- Mayor vida útil de los componentes de la suspensión.
Números de referencia relacionados
Números relacionados, reemplazados, de referencia cruzada o alternativos para comparación.
PFF57-1402
El producto que está viendo hace referencia cruzada a estos números
- Porsche 911 1965-1968 2.0L / 912 SWB (F)
- Porsche 914 (1970-1976)
JUEGO DE 4

Casquillo barra estabilizadora trasera - 15mm .
Casquillo del eslabón trasero - 15 mm .
Se adapta - lado izquierdo y derecho.
Encaja:
Porsche 911 1965-1973 Trasero
Porsche 914 1970-1976 Trasero
Nota: compruebe el diámetro de la barra estabilizadora antes de realizar el pedido.
Haga clic en 'Acercar' para ver el diagrama de piezas grandes.
Diagrama Ref No 2.
Powerflex. Reemplazar los casquillos de suspensión de goma de su automóvil con casquillos de suspensión de poliuretano le dará:
- Mejor agarre a la carretera
- Geometría de dirección constante
- Mayor vida útil de los neumáticos
- Dirección más receptiva
- Mayor vida útil de los componentes de la suspensión.
Números de referencia relacionados
Números relacionados, reemplazados, de referencia cruzada o alternativos para comparación.
PFR57-412-15
El producto que está viendo hace referencia cruzada a estos números
- Porsche 911 1965-1968 2.0L / 912 SWB (F)
- Porsche 911 1968-1973 2.2L / 2.4L / 2.7L RS LWB (F)
- Porsche 914 (1970-1976)
Casquillo Barra Estabilizadora Trasera - 18mm.
Casquillo Drop Link Trasero - 18mm.
Se adapta - lado izquierdo y derecho.

JUEGO DE 4
Repuesto para piezas Porsche No. 91133379302
Encaja:
Porsche 911 1974-77 Trasero
Porsche 911 Turbo 1975-77
Porsche 914 1970-76 Trasero
Haga clic en 'Acercar' para ver el diagrama de piezas grandes.
Diagrama Ref No 2.
Powerflex. Reemplazar los casquillos de suspensión de goma de su automóvil con casquillos de suspensión de poliuretano le dará:
- Mejor agarre a la carretera
- Geometría de dirección constante
- Mayor vida útil de los neumáticos
- Dirección más receptiva
- Mayor vida útil de los componentes de la suspensión.
Números de referencia relacionados
Números relacionados, reemplazados, de referencia cruzada o alternativos para comparación.
PFR57-412-18
El producto que está viendo hace referencia cruzada a estos números
- Porsche 911 1974-1977 2.7L / 1976-77 3.0 Carrera
- Porsche 911 1978-1983 3.0L / SC
- Porsche 911 1975-1977 3.0L Turbo (930)
- Porsche 914 (1970-1976)
JUEGO DE 2.
Reemplazar los casquillos de suspensión de goma de su automóvil con casquillos de suspensión de poliuretano le dará:
- Mejor agarre a la carretera
- Geometría de dirección constante
- Mayor vida útil de los neumáticos
- Dirección más receptiva
- Mayor vida útil de los componentes de la suspensión.
Encaja:
Porsche 911 1965-98
Porsche 924 1977-88
Porsche 944 1982-91
Porsche 968 1992-95
Porsche 928 1978-95
Porsche 356 1950-65
Porsche 914 1970-76
Haga clic en 'Acercar' para ver el diagrama de piezas grandes.
Diagrama ref no 11
Números de referencia relacionados
Números relacionados, reemplazados, de referencia cruzada o alternativos para comparación.
PFF57-209-
El producto que está viendo hace referencia cruzada a estos números
- Porsche 911 1965-1968 2.0L / 912 SWB (F)
- Porsche 911 1968-1973 2.2L / 2.4L / 2.7L RS LWB (F)
- Porsche 964 (911) C2 1989-93
- Porsche 964 (911) C4 1989-93
- Porsche 964 (911) RS 3.6L 1991-93
- Porsche 964 (911) RS 3.8L 1991-93
- Porsche 964 (911) TURBO 3.3L 1991-93
- Porsche 964 (911) TURBO 3.6L 1991-93
- Porsche 993 (911) C2 1994-97
- Porsche 993 (911) C4 1994-97
- Porsche 993 (911) RS 1994-97
- Porsche 993 (911) C2S 1994-97
- Porsche 993 (911) C4S 1994-97
- Porsche 993 (911) TURBO 1994-96
- Porsche 993 (911) GT2 1994-97
- Porsche 993 (911) TURBO S 1994-97
- Porsche 924 2.0L 1976-79
- Porsche 924 2.0L 1980-85
- Porsche 924 Turbo 2.0L 1979-81
- Porsche 924 Turbo 2.0L 1982-84
- Porsche 924 Carrera GT 2.0L 1981
- Porsche 924 Carrera GTS 2.0L 1982
- Porsche 924S 2.5L 1986-87
- Porsche 924S 2.5L 1988
- Porsche 944 2.5L 8V 1982-87
- Porsche 944 2.7L 8V 1988-89
- Porsche 944S 2.5L 16V 1987-88
- Porsche 944S2 3.0L 16V 1989-91
- Porsche 944 Turbo 2.5L 8V 1985-88
- Porsche 944 Turbo 2.5L 8V 1989-91
- Porsche 944 Turbo S 2.5L 8V 1988
- Porsche 968 3.0L 1992-94
- Porsche 968 Sport 3.0L 1994-95
- Porsche 968 CS 3.0L 1993-95
- Porsche 968 Turbo S 3.0L 1993-94
- Porsche 928 4.5L 1978-82
- Porsche 928S 4.7L 1981-83
- Porsche 928S2 4.7L 1984-86
- Porsche 928S4 5.0L 1987-92
- Porsche 928GT 5.0L 1989-91
- Porsche 928GTS 5.4L 1992-95
- Porsche 356A 1955-59
- Porsche 356B 1959-63
- Porsche 356C 1963-65
- Porsche 914 (1970-1976)
Juego de 2.
Reemplazar los casquillos de suspensión de goma de su automóvil con casquillos de suspensión de poliuretano le dará:
- Mejor agarre a la carretera
- Geometría de dirección constante
- Mayor vida útil de los neumáticos
- Dirección más receptiva
- Mayor vida útil de los componentes de la suspensión.
Encaja:
Porsche 911 1965-98
Porsche 924 1977-88
Porsche 944 1982-91
Porsche 968 1992-95
Porsche 928 1978-95
Porsche 356 1950-65
Porsche 914 1970-76
Diagrama Ref No 11
Números de referencia relacionados
Números relacionados, reemplazados, de referencia cruzada o alternativos para comparación.
PFF57-306-
El producto que está viendo hace referencia cruzada a estos números
- Porsche 964 (911) C2 1989-93
- Porsche 964 (911) C4 1989-93
- Porsche 964 (911) TURBO 3.3L 1991-93
- Porsche 964 (911) TURBO 3.6L 1991-93
- Porsche 993 (911) C2 1994-97
- Porsche 993 (911) C4 1994-97
- Porsche 993 (911) RS 1994-97
- Porsche 993 (911) C2S 1994-97
- Porsche 993 (911) C4S 1994-97
- Porsche 993 (911) TURBO 1994-96
- Porsche 993 (911) GT2 1994-97
- Porsche 993 (911) TURBO S 1994-97
- Porsche 924 2.0L 1976-79
- Porsche 924 2.0L 1980-85
- Porsche 924 Turbo 2.0L 1979-81
- Porsche 924 Turbo 2.0L 1982-84
- Porsche 924 Carrera GT 2.0L 1981
- Porsche 924 Carrera GTS 2.0L 1982
- Porsche 924S 2.5L 1986-87
- Porsche 924S 2.5L 1988
- Porsche 944 2.5L 8V 1982-87
- Porsche 944 2.7L 8V 1988-89
- Porsche 944S 2.5L 16V 1987-88
- Porsche 944S2 3.0L 16V 1989-91
- Porsche 944 Turbo 2.5L 8V 1985-88
- Porsche 944 Turbo 2.5L 8V 1989-91
- Porsche 944 Turbo S 2.5L 8V 1988
- Porsche 968 3.0L 1992-94
- Porsche 968 Sport 3.0L 1994-95
- Porsche 968 CS 3.0L 1993-95
- Porsche 968 Turbo S 3.0L 1993-94
- Porsche 928 4.5L 1978-82
- Porsche 928S 4.7L 1981-83
- Porsche 928S2 4.7L 1984-86
- Porsche 928S4 5.0L 1987-92
- Porsche 928GT 5.0L 1989-91
- Porsche 928GTS 5.4L 1992-95
- Porsche 356A 1955-59
- Porsche 356B 1959-63
- Porsche 356C 1963-65
- Porsche 914 (1970-1976)
JUEGO DE 2
Reemplazar los casquillos de suspensión de goma de su automóvil con casquillos de suspensión de poliuretano le dará:
- Mejor agarre a la carretera
- Geometría de dirección constante
- Mayor vida útil de los neumáticos
- Dirección más receptiva
- Mayor vida útil de los componentes de la suspensión.
Encaja:
Porsche 911 1965-98
Porsche 924 1977-88
Porsche 944 1982-91
Porsche 968 1992-95
Porsche 928 1978-95
Porsche 356 1950-65
Porsche 914 1970-76
Haga clic en 'Acercar' para ver el diagrama de piezas grandes.
Diagrama Ref No 11
Números de referencia relacionados
Números relacionados, reemplazados, de referencia cruzada o alternativos para comparación.
PFF57-204-
El producto que está viendo hace referencia cruzada a estos números
- Porsche 964 (911) C2 1989-93
- Porsche 964 (911) C4 1989-93
- Porsche 964 (911) RS 3.6L 1991-93
- Porsche 964 (911) RS 3.8L 1991-93
- Porsche 964 (911) TURBO 3.3L 1991-93
- Porsche 964 (911) TURBO 3.6L 1991-93
- Porsche 993 (911) C2 1994-97
- Porsche 993 (911) C4 1994-97
- Porsche 993 (911) RS 1994-97
- Porsche 993 (911) C2S 1994-97
- Porsche 993 (911) C4S 1994-97
- Porsche 993 (911) TURBO 1994-96
- Porsche 993 (911) GT2 1994-97
- Porsche 993 (911) TURBO S 1994-97
- Porsche 924 2.0L 1976-79
- Porsche 924 2.0L 1980-85
- Porsche 924 Turbo 2.0L 1979-81
- Porsche 924 Turbo 2.0L 1982-84
- Porsche 924 Carrera GT 2.0L 1981
- Porsche 924 Carrera GTS 2.0L 1982
- Porsche 924S 2.5L 1986-87
- Porsche 924S 2.5L 1988
- Porsche 944 2.5L 8V 1982-87
- Porsche 944 2.7L 8V 1988-89
- Porsche 944S 2.5L 16V 1987-88
- Porsche 944S2 3.0L 16V 1989-91
- Porsche 944 Turbo 2.5L 8V 1985-88
- Porsche 944 Turbo 2.5L 8V 1989-91
- Porsche 944 Turbo S 2.5L 8V 1988
- Porsche 968 3.0L 1992-94
- Porsche 968 Sport 3.0L 1994-95
- Porsche 968 CS 3.0L 1993-95
- Porsche 968 Turbo S 3.0L 1993-94
- Porsche 928 4.5L 1978-82
- Porsche 928S 4.7L 1981-83
- Porsche 928S2 4.7L 1984-86
- Porsche 928S4 5.0L 1987-92
- Porsche 928GT 5.0L 1989-91
- Porsche 928GTS 5.4L 1992-95
- Porsche 356A 1955-59
- Porsche 356B 1959-63
- Porsche 356C 1963-65
- Porsche 914 (1970-1976)
Se vende como un par (ambos brazos)

Número de pieza OEM: 91434142200, 91434142201
Encaja:
Porsche 911/911S 1965-1967
Porsche 912 1965-1967
Haga clic en 'Acercar' para ver el diagrama de piezas grandes.
Diagrama ref no 10
Powerflex. Reemplazar los casquillos de suspensión de goma de su automóvil con casquillos de suspensión de poliuretano le dará:
- Mejor agarre a la carretera
- Geometría de dirección constante
- Mayor vida útil de los neumáticos
- Dirección más receptiva
- Mayor vida útil de los componentes de la suspensión.
Números de referencia relacionados
Números relacionados, reemplazados, de referencia cruzada o alternativos para comparación.
PFF57-1401
El producto que está viendo hace referencia cruzada a estos números
- Porsche 911 1965-1968 2.0L / 912 SWB (F)
- Porsche 914 (1970-1976)
Casquillos Powerflex respaldados por una garantía de por vida
Powerflex se enorgullece de ofrecer una garantía de por vida en toda la gama de productos que fabricamos.
¿Manejo impreciso? ¿Desgaste desigual de los neumáticos? ¿Inestabilidad de frenado?
Estos son los problemas comunes asociados con los casquillos de suspensión de compuestos de caucho blandos, envejecidos o defectuosos. Los productos POWERFLEX ofrecen la cura.
Nuestros bujes ofrecen: Vida útil prolongada del neumático, rendimiento mejorado, mayor seguridad, mayor rentabilidad