Please wait… 
Please wait while we process your order,
do not press the back button… 
Design 911 Design 911 supply Porsche parts, Porsche spares and Porsche accessories, to both retail and to the trade. Our Porsche product and accessory range includes brakes, exhausts, tyres, wheels and Porsche panels and interiors. https://design91.uk/images/schemaLogo.png https://design91.uk/images/schemaLogo.png +443456003478 https://design91.uk Facebook Instagram

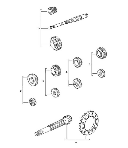
Gear wheel sets / Manual transmission - G31.01/02/03 - 924 TUBRO / GT 1980 - 1985 - PORSCHE

Click the image numbers to view product info

Diagram 303-010 Porsche Boxster 718 (982) 2017>> Transmission SKU: 93130290102, gear set z = 12 : 38 comprising: drive shaft loose gear wheel reverse idler gear,SKU: 93130290102, gear set z= 12 : 38comprising:drive shaft loose gear wheel reverse idler gear SKU: 93130290202, gear set z= 18 : 32comprising: loose gear wheel fixed gear wheel,SKU: 93130290202, gear set z= 18 : 32comprising:loose gear wheel fixed gear wheel SKU: 477302903, gear set z= 23 : 28 comprising: loose gear wheel fixed gear wheel,SKU: 477302903A, gear set z= 23 : 28comprising:loose gear wheel fixed gear wheel SKU: 477302904, gear set z= 29 : 27 comprising: loose gear wheel fixed gear wheel,SKU: 477302904A, gear set z= 29 : 27comprising:loose gear wheel fixed gear wheel SKU: 477302905A, gear set  z= 34 : 24 comprising: loose gear wheel fixed gear wheel,SKU: 477302905B, gear set z= 34 : 24comprising:loose gear wheel fixed gear wheel SKU: 93130291101, ring gear and pinion shaft 8:33 comprising: drive shaft crown wheel,SKU: ., transmission typ g 31.03,SKU: 93130291133, ring gear and pinion shaft 8:33comprising:drive shaft crown wheel 303-010